Zavřít reklamu

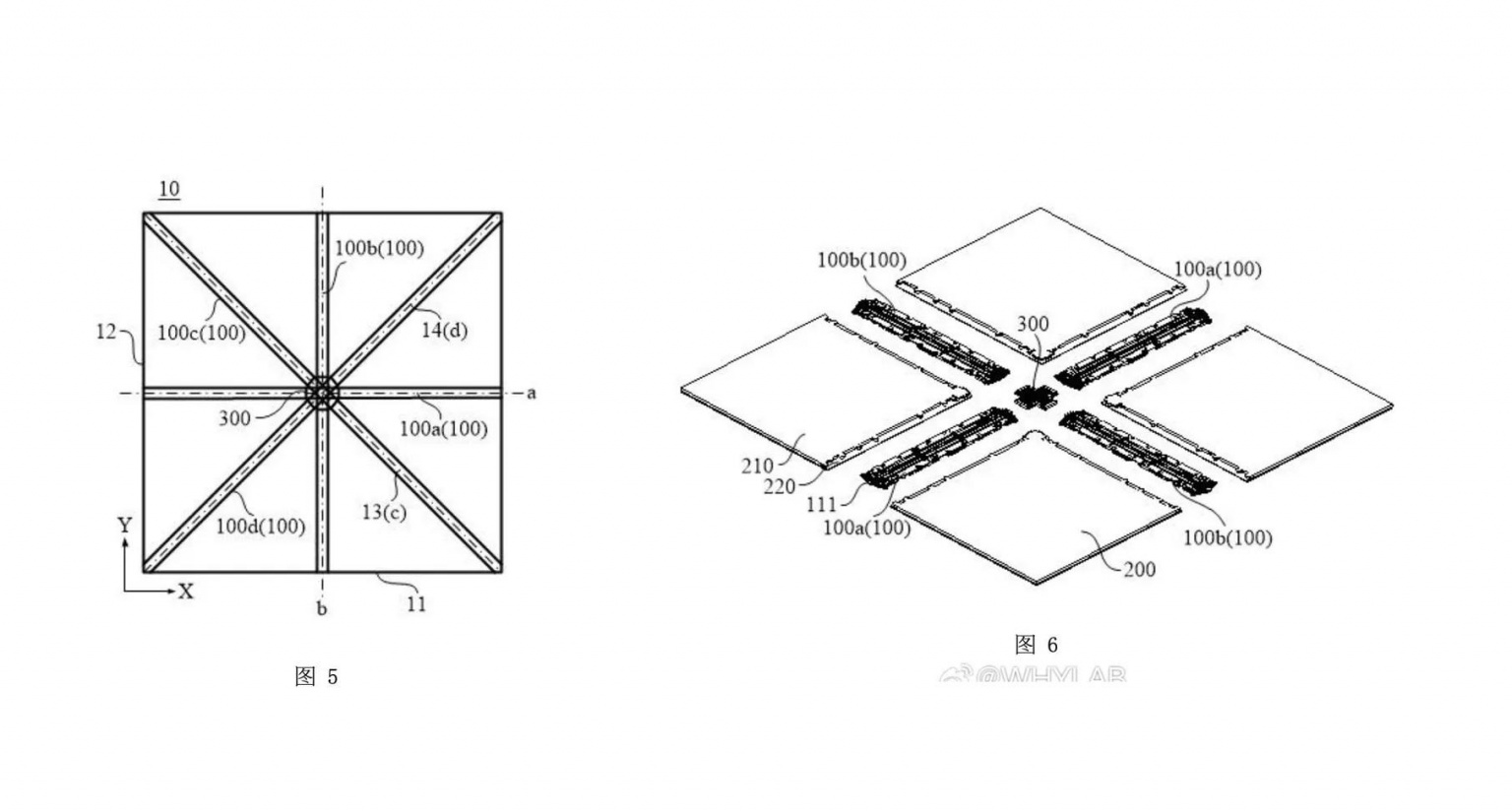
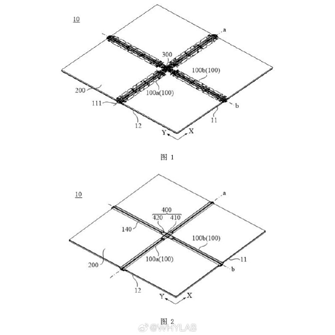
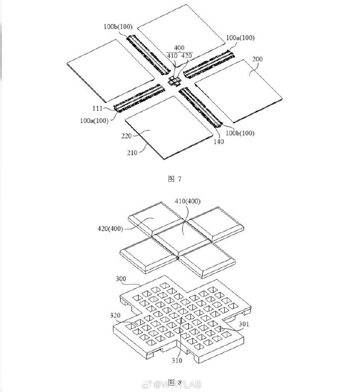
Skládací mobily už se stávají klasikou a v portfoliu je má většina výrobců. Chybí mezi nimi sice Apple, ale i ten by nás letos měl překvapit svým skládacím iPhonem Fold. Huawei a Samsung už mezitím přešly k mobilům se dvěma panty. A Honor nechce zůstávat pozadu, takže se rozhodl nechat si patentovat mobil rovnou se čtyřmi panty.

Honor je známým průkopníkem ve světě technologií. Na MWC 2026 se pochlubil svým nejnovějším skládacím mobilem Honor Magic V6, k tomu předvedl humanoidního robota a také Robot Phone s kamerou na gimbalu, který by se měl ještě letos dostat do prodeje. Do budoucna má ale ještě odvážnější plány. WHYLAB zveřejnil na síti Weibo koncepty, které si Honor údajně nechal patentovat. A budete na ně zírat doslova s pusou dokořán.

Čtyři panty a skládání jako origami

Ze zveřejněných konceptů je jasné, že Honor promýšlí různé varianty, jak by se mobily mohly skládat, kde by mohly být umístěny panty a kolik pantů by měly mít. Nejodvážnější verze má hned čtyři, další naznačuje, že by se čtvercová obrazovka mohla skládat jakýmkoliv způsobem.

Leckdo může tvrdit, že není možné, aby podobný mobil někdy vyšel. Ale podle mě to není tak nepravděpodobné. Honor, stejně jako Huawei, jdou novým technologiím naproti a nebojí se je využívat. Zatímco Samsung už léta zůstává uvízlý na 5 000mAh baterii, Honor už má mobil s 10 000mAh baterií. Stejně tak čínští výrobci šponují na maximum i možnosti fotoaparátů. Nemluvě o čím dál větším výkonu. A když už tu máme mobily se dvěma panty, proč by za pár let nemohly být tři nebo i čtyři?

Nikdy asi nepůjde o masovou výrobu, ale mohli bychom se dočkat přinejmenším prototypu takového skládacího mobilu od Honoru. Po konstrukční stránce by šlo o obrovskou výzvu a je otázkou, kdo by si troufl vyrábět takto propracovaný a zároveň odolný displej. Ale možná se na některém z příštích veletrhů CES nebo MWC dočkáme revolučního prototypu mobilu Honor, který se bude skládat jako origami.

Související články

Dnes nejčtenější

.