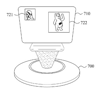
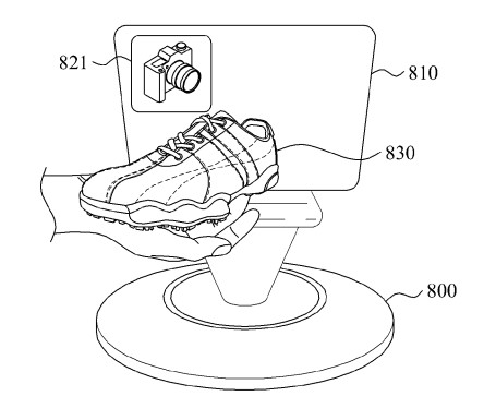
Samsung nejenže usilovně pracuje na uvedení telefonů Galaxy S10 a Galaxy F, ale zřejmě se také zabývá novým druhem displejů. Podle posledních informací totiž jihokorejský technologický gigant zažádal o nový patent týkající se 3D displejů.
Mělo by se jednat o úplně nový druh displeje, který bude schopný zobrazovat různý obsah jako fotky, videa ale i hry ve 3D. Ilustrace přiložené v žádosti také zobrazují možnost zrcadlit obrazovku smartphonu. Patent napovídá, že prostřednictvím zařízení, které bude vybaveno zmíněným druhem displeje, budeme také schopni naskenovat objekty pomocí integrované kamery a zobrazit je ve 3D. Zařízení bude objekty nejen zobrazovat, ale předměty rozpozná, určí barvu i tvar. Kromě toho bychom si mohli na displeji přečíst více informací o skenovaném objektu jako například cenu nebo kde danou věc zakoupit.
Kromě obsahu bude trojrozměrné také uživatelské rozhraní, které by uživatelé mohli ovládat gesty, aniž by se museli dotknout displeje. Zařízení s těmito displeji by totiž mělo mít zabudované specifické senzory. Pokud vám tedy například někdo zavolá, danou osobu uvidíte na displeji a pomocí gest můžete zároveň ovládat třeba hudbu, jejíž rozhraní bude současně na displeji. Žádost u patentového úřadu se však nezmiňuje, zda se bude jednat o panely pro tablety, monitory nebo televize. Samotný Samsung na otázky ohledně patentu nereagoval.
Mohlo by vás zajímat
Není úplně jasné, proč se Samsung znovu ubírá cestou 3D displejů po neúspěchu v této oblasti z roku 2010, ale možná pro nás jihokorejská společnost chystá skutečně revoluční novinku. V listopadu minulého roku si totiž Samsung zažádal o patent týkající se holografické technologie. Je tedy možné, že se dočkáme jednoho zařízení, kde budou použity obě dvě novinky.
Takto by mohlo patentované zařízení vypadat v praxi (zdroj: Letsgo Digital):