Zavřít reklamu

Výrobci chytrých telefonů vystřídali za dobu své existence celou řadu autentizačních systémů. Ať už šlo o kódové či slovní zámky, různé kreslení obrazců po displeji, otisky prstů či sken obličeje a oční duhovky, vždy bylo za cíl data uživatele telefonu maximálně zabezpečit. Snahy zintenzivnit zabezpečení telefonů však nepřestávají ani nyní.

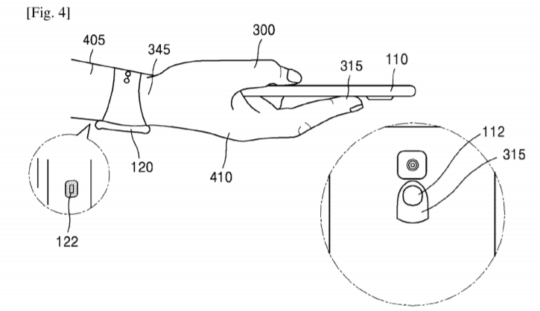
Samsung si před pár dny zaregistroval velice zajímavou patentovou přihlášku, ve které objasňuje, jakým směrem by chtěl zkusit autentizaci posunout. Pokud však čekáte zdokonalení snímače otisků prstů či lepší sken obličeje, jste na omylu. Samsung se totiž zaměřil na autentizaci pomocí toku krve pod kůží člověka.

Zdá se vám tento nápad jako šílený? Tak úplně není. Dráhy, kterými proudí pod kůží lidí krev, totiž nejsou prakticky u nikoho s někým druhým totožné, čímž by byla skvěle zajištěna bezpečnost uživatelů. K autentizaci by pak sloužily senzory na smartphonu či chytrých hodinkách a náramcích, které by určité místo na lidském těle skenovaly a podle toho vyhodnocovaly, zda se jedná skutečně o majitele zařízení či nikoliv.

Pokud by patent fungoval skutečně tak, jak jej Samsung popisuje, mohla by být tato novinka obrovským přínosem hlavně pro jeho chytré hodinky. Ty jsou totiž již řadou senzorů opatřeny a tak je poměrně pravděpodobné, že by se žádných výrazných úprav nedočkaly. Pokud by si je pak uživatel nasadil a ony jej rozpoznaly, mohl by skrze ně provádět veškeré úkony bez nutnosti další autentizace. Usnadnily by se tak například bezkontaktní platby či podobné záležitosti.

Ačkoliv je tento paten jistě velmi zajímavý, měli bychom na něj zatím nahlížet s patřičným odstupem. Technologické společnosti si totiž registrují spousty patentů ročně a jen zlomek z nich skutečně spatří světlo světa. Nechme se tedy překvapit, zda se k vývoji podobného produktu Samsung skutečně odhodlá. Průlom by to totiž byl bezesporu obrovský.

note 8 fingerprint fb

Zdroj: galaxyclub

Související články

Dnes nejčtenější

.